中国八方新闻

 找回密码
 立即注册

QQ登录

只需一步,快速开始

中国八方新闻 首页 国内新闻 查看内容

天芝鹿普通食品自称保健功效,奖金制度包含多种收益+期权?

评论: 0|来自: 互联网

摘要: 近年来,我国保健食品市场规模持续扩大,据相关统计数据显示,根据我国经济发展状况,以及行业发展趋势,预计2022年中国保健食品行业市场规模将超过2000亿元。在此背景下,近段时间以来布局相关领域的互联网平台也越 ...

近年来,我国保健食品市场规模持续扩大,据相关统计数据显示,根据我国经济发展状况,以及行业发展趋势,预计2022年中国保健食品行业市场规模将超过2000亿元。在此背景下,近段时间以来布局相关领域的互联网平台也越来越多,自称具有保健功效的天芝鹿五谷轻脂营养餐便在近日走入了不少人的视野,因而,销售该产品的天芝鹿商城近来收获到的关注度也越来越高。

那么天芝鹿有着怎样的平台背景?康瑞公司的母公司海畅生物的实控人王云娟是否曾被法院列为失信被执行人?天芝鹿五谷轻脂营养餐、天芝鹿UU压片糖果等普通食品自称具有提高免疫力的保健作用,是否符合广告法?该平台现行的奖金制度该如何解读?期权奖励是否可理解为原始股?天芝鹿真的是一个0风险的事业吗?

公司背景,问题重重?


中国首家以自营品牌为核心的降食品平台是天芝鹿的战略定位,溧阳康瑞生物科技有限公司为官方公众号天芝鹿TianZhiLu的认证主体,也是天芝鹿的运营主体,该公司成立于2022年5月9日,法定代表人钱勤娟,股东有常州市海畅生物科技有限公司 (大股东)、钱勤娟,注册资本500万元。

溧阳瑞康生物科技有限公司为天芝鹿的另一个官方公众号天芝鹿商城的认证主体,该公司成立于2022年7月26日,法定代表人钱勤娟,股东有钱勤娟(大股东)、余志平,注册资本100万元。在天芝鹿的管理层方面,据官方资料显示,天芝鹿执行总裁为那萍,市场总监为王志华。

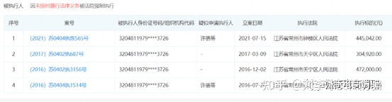
说到康瑞公司的背景,自然不得不提到母公司常州市海畅生物科技有限公司,该公司的实控人为王云娟,据企查查显示,在多年前,王云娟还曾被江苏省常州市钟楼区人民法院数次强制执行。



(图片来源:企查查)

不仅如此,在过往这些年间,此人还存在因有履行能力而拒不履行生效法律文书确定义务而被法院列为失信被执行人、被法院出示限制消费令的记录。



(图片来源:企查查)



另外值得一提的是,常州市冠蓝食品有限公司也与康瑞公司关联紧密。经查,该公司的大股东为江苏中嘉生物科技发展有限公司,中嘉公司的实控人同样也是王云娟,不难看出,王云娟在天芝鹿的背后扮演的是一个怎样重要的角色。



王云娟在当下所拥有的身份众多,包括天谷粮芯创始人在内。日前,以核心产品骨珍芝而闻名于互联网的天谷粮芯已因产品涉嫌虚假宣传、奖金制度涉嫌违法违规等问题遭到了一些反传自媒体的曝光



普通食品,保健功效?


再说回天芝鹿本身,据公开资料显示,天芝鹿品牌是一个集研发、生产、销售于一体的大型降食品企业,产品线覆盖内服美容品、外用修复品、降养生品等领域。截至2022年11月,天芝鹿已在微信小程序上推出了多款产品,天芝鹿五谷轻脂营养餐便是其中之一。2022年8月,公众号天芝鹿TianZhiLu曾在题为天芝鹿|轻脂营养新「食」尚的文章中指出天芝鹿五谷轻脂营养餐具有提高机体免疫力的功效。



而实际上,该产品的生产许可证号为SC10632048102071,产品类型为冲调类方便食品,显然,该产品仅为普通食品,并非保健食品。



根据国家食品药品监督管理总局关于保健食品的相关规定,具有提高免疫力功效的食品一律归为保健食品。食品安全国家标准预包装食品标签通则(GB7718-2011)同时规定,非保健食品不得明示或者暗示具有保健作用。当非保健食品广告宣传保健功能时,可依据广告法第九条第(十一)项的规定以及食品安全法实施条例规定禁止的情形对其定性。非保健食品广告宣传保健功能,是对食品本身性能和功能的虚假描述,容易引起消费者的误解,可以虚假广告对其定性。

无独有偶,另外一款名为天芝鹿UU压片糖果的产品也被相关视频资料包装出了增强免疫力的保健作用。



根据食品生产许可分类名录,压片糖果属于糖果制品,结论显而易见,压片糖果类产品属于普通食品糖果类,因此,这款普通食品宣传保健功效,同样涉嫌虚假宣传。

两大级别,区域分红?


接下来,我们再来关注一下天芝鹿推行的奖金制度该如何解读。据推广人员阿强(化名)提供的资料显示,天芝鹿将参与者分为了两个级别,其一是分公司,其二是运营中心。分公司的门槛有两种,不同门槛对应的权益自然也有所不同,购买3万元产品,可以拿到价值21893元的产品、分公司授权以及三线城市区域2%的分红(前300家);购买1万元产品,可以拿到价值6677元的产品,以及分公司授权。



分公司将享受到的具体权益包括直接招商20%的提成,1%到2%的流水收益,以及上文提到的区域分红。



根据规则,分公司还有机会拿到期权奖励。



成为分公司后的预期收益如下:





直推业绩达到21万或直推业绩达到9万+团队业绩达到12万,即可升级为运营中心。



直推2个运营中心,且团队有5个运营中心,可享受全国加权2%的终身分红;直推3个运营中心,且团队有7个运营中心,可享受全国公域电商5%的终身分红;直推3个运营中心,且团队有7个运营中心+总业绩达到300万,可拿到市级分红的1%(限前100家);直推3个运营中心,且团队有7个运营中心+总业绩达到600万,可拿到省级分红的1%(限前10家)。

一言蔽之,天芝鹿商城本质上属于会员制平台,但会员并不等同于代理,截至目前,会员还不能享受属于分公司和运营中心的种种奖励,主要收益是折扣劵。



期权奖励,计划上市?


正如前文所述,在上述奖金制度中还出现了期权的概念,天芝鹿的期权在推广人员的口中其本质也与原始股无异。

按照天芝鹿工作人员的说法,公司有三年计划,如果营业额达到要求,三年之内将会完成上市,届时天芝鹿原始股持有人在资本市场将收获到的股票收益将不可估量。



但归根结底,投资者只有在上海证券交易所、深圳证券交易所以及承担新三板交易结算的全国中小企业股份转让系统这三个公开市场买卖股票,才不存在诈骗风险,而企业与投资人之间非法进行的所谓的原始股权转让、买卖的行为,不符合相关法律规定。根据证券法的有关规定:公开发行股票,须经中国证监会核准,未经依法核准,任何单位和个人不得公开、变相公开发行股票。非公开发行股票,不得采用广告、公告、广播、网络、短信等公开方式或变相公开方式进行。

为了进一步达到招商效果,在相关课件资料中,还出现了声称投资该项目没有风险的宣传词。



0风险的字样也已数次出现。


我国广告法第二十五条对于投资理财类广告有明确约束:招商等有投资回报预期的商品或服务广告,应当对可能存在的风险以及风险责任承担有合理提示或者警示,并不得含有下列内容:一是对未来效果、收益或与其相关的情况作出保证性承诺,明示或者暗示保本、无风险或者保收益等;二是利用学术机构、行业协会、专业人士、受益者的名义或者形象作推荐、证明。

后 记

近年来,国内的大降产业迎来了一个持续的高速发展期,但与此同时,个别商家为了追求更好的销量,进而将普通食品包装出保健功效的乱象也变得愈发常见。因此,面对网络上铺天盖地的广告宣传攻势,消费者应进一步提高警惕、理性消费,了解相关法规,懂得如何分辨哪些是有蓝帽子的保健食品,哪些是存在虚假宣传问题的普通食品。

至于天芝鹿在今后会如何发展?围绕着相关产品出现的虚假宣传问题,能否得到经营方的重视与整改?对此,微商电商调研将继续保持关注。

文章来源:微商电商调研

温馨提示:
1、在网站里发表的新闻都来自网络,与本网站立场无关。
2、网站的所有内容不保证其准确性,有效性,时间性。阅读本站内容因误导等因素而造成的损失本站不承担连带责任。
3、当政府机关依照法定程序要求披露信息时,网站均得免责。
4、若因线路及非本站所能控制范围的故障导致暂停服务期间造成的一切不便与损失,网站不负任何责任。
5、通过任何手段和方法针对网站进行破坏,我们有权对其行为作出处理。并保留进一步追究其责任的权利。

广告合作/投稿邮箱zgbfxw@163.com|网站地图|手机版|中国八方新闻

GMT+8, 2025-11-14 09:00 , Processed in 0.101224 second(s), 19 queries .

Powered by Discuz! X3.4

© 2001-2023 Discuz! Team.

返回顶部