中国八方新闻

 找回密码
 立即注册

QQ登录

只需一步,快速开始

中国八方新闻 首页 国内新闻 查看内容

二不姜寒茶因功效宣传而走红网络,诉讼缠身的尊品科技将走向何方?

评论: 0|来自: 互联网

摘要: 随着人们降意识的增强,对姜推崇的人也越来越多。论语有记载称,孔子曾曰:不撤姜食,不多食。其意为每次吃饭,孔子都要食用姜。早上姜汤如参汤、常吃生姜不怕风霜、男人不可百日无姜的说 ...

随着人们降意识的增强,对姜推崇的人也越来越多。论语有记载称,孔子曾曰:不撤姜食,不多食。其意为每次吃饭,孔子都要食用姜。早上姜汤如参汤、常吃生姜不怕风霜、男人不可百日无姜的说法也由来已久,另有资料证实,中医绝大多数方子里都有姜来配,足见其药用价值。在这样的背景下,有一款名为二不姜寒茶的产品在近年来脱颖而出,凭借着其与众不同的宣传方式,吸引到了不少人关注的目光。

那么二不大降旗下的这款产品具有怎样的资质?尊品降科技管理(青岛)有限公司的前身——尊品科技食品(青岛)有限公司在过去这些年间经历过怎样的诉讼和行政处罚?二不姜寒茶产品在抽检过程中,是否出现过菌落总数项目不符合GB7101-2015食品安全国家标准 饮料要求的现象?相关奖金制度该如何解读?


图片



官网难见,多为被告

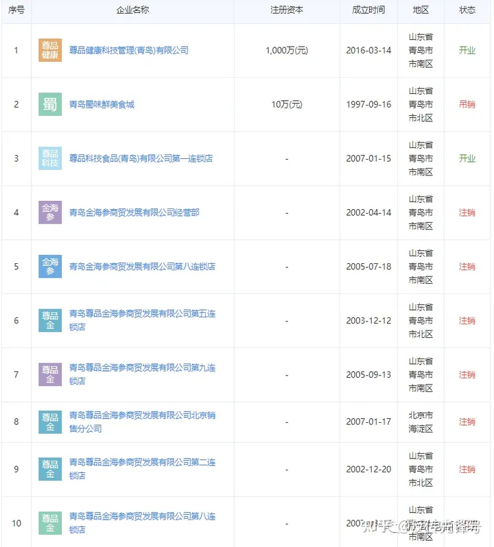
尊品降科技管理(青岛)有限公司是二不姜寒茶的经营主体,该公司成立于2016年3月14日,法定代表人李爽,股东有李爽(大股东)和郭晓刚,注册资本1000万元,据爱企查显示,由李爽担任法定代表人的企业至少有10家,而其中的百分之八十似乎都已处于吊销或注销的经营状态。


图片


眼下,尊品降公司的官网(http://www.erbuhealth.com)已无法访问,网友在点击相关网址后会看到下面这样一段话:抱歉,网站暂时无法访问,网站可能因以下原因之一而导致无法访问:域名未绑定、网站过期,以及其他原因(空间超标、流量超标、域名未备案、域名备案被注销等)被系统关闭。


图片


在过去的这三四年间,该公司曾被数次告上法庭,原因各不相同,有著作权权属、侵权纠纷,有承揽合同纠纷,也有加工合同纠纷。案发原因各不相同,但法院的判决结果却是殊途同归——都是以原告撤诉而告终。


图片


二不大降的创始人名叫郭晓刚,经销商称之为郭老师。


图片


据百度百科显示,郭晓刚祖籍山西,定居北京。网名:摩尼使者,国内著名易学实战专家,独立经济研究学者,传统文化研究学者,地缘政治研究学者,传统风水学、相学、命理学传承人,家传中医。长期从事传统文化研究与教学,与国内外众多高等教育研究机构合作传播中国传统文化。并长期担任国内外众多企业战略与规划顾问。



尊品公司,多宗诉讼


尊品降科技管理(青岛)有限公司的前身可以追溯到尊品科技食品(青岛)有限公司的身上,后者也同样是李爽名下的企业,该公司成立于2002年2月7日,原名青岛尊品金海参商贸发展有限公司、青岛金海参商贸发展有限公司。据官方介绍,该公司主营海参、燕窝、姜茶系列等高级滋补品的加工与零售。还经营鲜活水产品;粗加工水产品;贝类;冲饮品;水产罐头;药酒、保狡等。


图片


调查发现,在过去的十年间,围绕着这家企业也有不少诉讼发生,且该公司多为被告。


图片


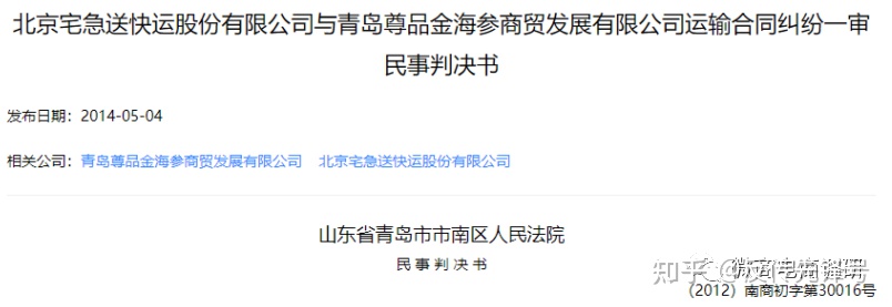
2012年,北京宅急送快运股份有限公司与当时的青岛尊品金海参商贸发展有限公司发生纠纷,据北京宅急送快运股份有限公司与青岛尊品金海参商贸发展有限公司运输合同纠纷一审民事判决书显示,原告诉称,原、被告于2008年开始合作,被告从2010年10月至2011年1月四个月期间,拒不支付原告运费计14623.50元。经被告催要未果,现请求法院判令被告支付运费14623.50元及滞纳金20308.65元,而法院最终判令被告青岛尊品金海参商贸发展有限公司向原告北京宅急送快运股份有限公司支付运费9649.60元。


图片


2016年,马全与麦凯乐(青岛)百货总店有限公司买卖合同纠纷一审民事判决书引发关注,该判决书显示,原告马全诉称,原告于2015年在被告麦凯乐(青岛)百货总店有限公司超市尊品海参柜台购买了青岛尊品金海参商贸发展有限公司生产的玻璃瓶装尊品冻干刺参胶囊22瓶(每瓶售价288元),其中有两瓶没有标签、QS生产许可标志、食品生产许可证编号、生产日期、保质期的尊品牌冻干刺参胶囊。原告认为上述产品系非法加工生产假冒串用其他食品生产许可证编号,未获得任何行政许可部门审批,属于不合格食品或保健食品。原告请求:1、判令被告赔偿原告销售产品价款6336元的十倍赔偿金;2、请求人民法院判令被告收回售给原告食品,退回购买上述食品货款6336元。


图片


青岛市市南区人民法院认为,本案争议焦点为:原告要求被告退还货款并要求十倍赔偿的理由是否成立。根据食品安全法第一百二十二条的规定,违反本法规定,未取得食品生产经营许可从事食品生产经营活动,或者未取得食品添加剂生产许可从事食品添加剂生产活动的,由县级以上人民政府食品药品监督管理部门没收违法所得和违法生产经营的食品、食品添加剂以及用于违法生产经营的工具、设备、原料等物品;违法生产经营的食品、食品添加剂货值金额不足一万元的,并处五万元以上十万元以下罚款;货值金额一万元以上的,并处货值金额十倍以上二十倍以下罚款。本案中,水产品(冻干刺身胶囊)的生产者青岛尊品金海参商贸发展有限公司是否属于未经许可无证经营,应当由相关的主管部门对其审查并进行行政处罚,青岛市崂山区食品药品监督管理局已经对生产者进行了立案处罚,但该行政处罚行为系生产者违反管理性规范性规定,不属于效力禁止性规定,并不能证明涉案产品不符合食品安全标准。同时,食品安全,指食品无毒、无害,符合应当有的营养要求,对人体降不造成任何急性、亚急性或者慢性危害。庭审中,原告提交的证据不足以证明涉案产品不符合食品安全标准,同时,原告提交的证据不足以证明被告明知涉案产品不符合食品安全标准而进行出售的事实,因此,原告要求被告退还货款并承担赔偿责任并无事实和法律依据,法院依法不予支持。

虽然马全要求的十倍赔偿的诉求被驳回了,不过我们在上述裁判文书当中看到了青岛尊品金海参商贸发展有限公司因为某些违规行为而遭到立案处罚的相关信息:2015年6月18日,青岛市崂山区食品药品监督管理局对生产涉案产品的青岛尊品金海参商贸发展有限公司进行了立案处罚,经查该公司在未取得海参胶囊类食品生产许可的情况下,擅自从事冻干刺参胶囊(粉)生产,对该公司处以:1、没收违法所得334.4元;2、没收8瓶无标签的冻干刺身胶囊(粉);3、罚款2000元。

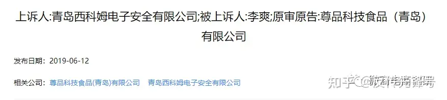
2019年,青岛西科姆电子安全有限公司与青岛尊品金海参商贸发展有限公司发生纠纷,本案以调解方式结案。


图片


2020年,青岛中拓塑业有限公司与尊品科技食品(青岛)有限公司承揽合同纠纷一审民事判决书公示,这场官司的最终结果是:山东省青岛市市南区人民法院判决尊品科技食品(青岛)有限公司向青岛中拓塑业有限公司支付货款10362.6元;山东省青岛市中级人民法院二审维持原判。


图片


还是在2020年,以前的员工和这家公司也有了纠纷,据王希娟与尊品科技食品(青岛)有限公司劳动合同纠纷一审民事判决书显示,法院最终判决尊品科技食品(青岛)有限公司支付给王希娟独生子*父母一次性养老补助19110.60元;山东省青岛市中级人民法院在二审中维持原判。


图片



普通食品,功效神奇?


了解完公司背景,下面再说说产品本身,据资料介绍,二不姜寒茶是尊品降科技管理(青岛)有限公司历时8年研发的姜枣汤系列第五代旗舰产品,并独立命名为姜寒茶,经过大量的市炒馈及不断改善于2018年7月7日走向市场。二不姜寒茶的产品名字取义为政篇第26章中的为人父母者不知医谓不慈,为人子女者不知医为不孝。


图片


有资料表示,这款产品也是尊品降科技公司自主研发、生产、加工的产品。而实际上,二不姜寒茶的实际生产企业的名字为尊品科技食品(青岛)有限公司,这一点从之后的相关处罚决定书中可以看到端倪,此处先不展开。


图片


继续说产品本身,经查,该产品的生产许可证编号为SC106370221200983,产品类型被标注为固体饮料。


图片


显而易见,二不姜寒茶仅为普通食品,并非保健食品或药品,不具备疾病治疗和保健功效。


图片


但讽刺的是,二不姜寒茶的最大卖点就在于其出众的产品功效。在微博上,有一位昵称为二不姜寒茶高级的网友晒出了下列图片,表示该产品适用于感冒发烧、月经不调、肠胃不适等病症。


图片


该网友还认为:痛经、例假不调、鼻炎、咽炎、胃痛、湿疹等问题统统可以通过饮用二不姜寒茶来解决。


图片


在简书上,还有相关宣传图片表示该产品可以治疗便秘,还给出了服用剂量。


图片


图片


而通过普通食品宣传可以治疗便秘,明显属于虚假宣传。


图片


此外,还有推广人员表示这款产品可以补阳气,阳气足等于免疫力强,显然,这位网友认为二不姜寒茶可以提高免疫力。


图片


同样在微博上,坚持每天一杯姜寒茶提高免疫力的说法也不遑多让。


图片


说完了产品本身,再看看产品成分,个别推广人员晒出了这样的宣传图片,用以证明这款产品所含成分具有其所对应的功效,进而暗示产品本身具有相应的作用。


图片


虽然这则姜寒茶食材成分对应表写出了有关资料的来源,但广告法第二十八条明文规定,广告有下列情形之一的,为虚假广告:(二)商品的性能、功能、产地、用途、质量、规格、成分、价格、生产者、有效期限、销售状况、曾获荣誉等信息,或者服务的内容、提供者、形式、质量、价格、销售状况、曾获荣誉等信息,以及与商品或者服务有关的允诺等信息与实际情况不符,对购买行为有实质性影响的。再举个例子,下图中就写有调血脂、降血糖、提高免疫力、强心、补脑等功效,而这些功效显然不属于普通食品能宣传的范围。


图片


图片


而在当下,关于非保健食品在广告中宣传保健功能是否可以按广告法第二十八条第二款第二项对其定性仍有争议,公众号王涤非法研得出的结论是:非保健食品广告宣传保健功能,应当依广告法第九条定性为法律、行政法规规定禁止的其他情形,按广告法第五十七条处罚。

据推广人员阿倩(化名)介绍,现如今,二不大降旗下已经发展出了9款产品,除了二不姜寒茶外,还有二不天一茶、二不归元茶、二不久白饮等。


图片


其中的二不归元茶当然也是普通食品,不过在网上却有案例证实该产品具有治疗结膜炎的作用。


图片


无独有偶,关于姜寒茶以及其他产品,也另有案例表示二不大降旗下的这些产品可以治疗鼻炎、支气管炎、咽炎等病症。



图片


图片


图片


图片


图片



竖版无缝滑动多图


这些案例的出现,还将涉及使用他人名义保证或以暗示方法使人误解其效用的行为。有业内人士指出,任何产品的广告都应当真实、合法,不得使用他人名义保证或者暗示产品功效误导消费者。凡是有明示或者暗示具有医疗作用的,夸大功能、虚假宣传或者其他容易给消费者造成误解的,违反相关法律法规的内容,或涉嫌虚假宣传。

众所周知,将普通食品包装成保健品或药品,同时宣传具有疾病预防和治疗功效,是保健市场中常见骗局之一。对于涉及疾病治疗的宣传材料,食品安全法第七十三条明确规定,食品广告的内容应当真实合法,不得含有虚假内容,不得涉及疾病预防、治疗功能。广告法第十七条也有所规定,除医疗、药品、医疗器械广告外,禁止其他任何广告涉及疾病治疗功能,并不得使用医疗用语或者易使推销的商品与药品、医疗器械相混淆的用语。对于涉及保健作用的宣传话术,食品安全法实施条例第三十八条规定:对保健食品之外的其他食品,不得声称具有保健功能。

二不姜寒茶的宣传能对消费者起到多大的影响?下图中的这位见证人给出了他的答案:


图片


这位网友在明知自己感冒流涕的情况下,选择通过喝茶来治愈,而不是吃药。更离谱的是,他还认为吃感冒药有可能让患者反而患上肺炎和支气管炎等疾病。

在本篇报道中,我们了解到了尊品科技公司的过往经历,以及关于二不姜寒茶的宣传是否有据可依,在下篇报道中,我们将着重关注的是二不姜寒茶的产品质量、有关行政处罚,以及相关的奖金制度,

温馨提示:
1、在网站里发表的新闻都来自网络,与本网站立场无关。
2、网站的所有内容不保证其准确性,有效性,时间性。阅读本站内容因误导等因素而造成的损失本站不承担连带责任。
3、当政府机关依照法定程序要求披露信息时,网站均得免责。
4、若因线路及非本站所能控制范围的故障导致暂停服务期间造成的一切不便与损失,网站不负任何责任。
5、通过任何手段和方法针对网站进行破坏,我们有权对其行为作出处理。并保留进一步追究其责任的权利。

广告合作/投稿邮箱zgbfxw@163.com|网站地图|手机版|中国八方新闻

GMT+8, 2025-11-15 06:37 , Processed in 0.046553 second(s), 19 queries .

Powered by Discuz! X3.4

© 2001-2023 Discuz! Team.

返回顶部