中国八方新闻

 找回密码
 立即注册

QQ登录

只需一步,快速开始

中国八方新闻 首页 国内新闻 查看内容

禹皇益购:禹皇酒庄曾犯非法吸收公众存款罪,奖金制度包含九大职级?

评论: 0|来自: 互联网

摘要: 据2022年全球葡萄酒行业最新数据报告显示,2022年,全球葡萄酒产量达到258亿升,已连续四年稳定在260亿升左右。近些年来,布局到相关领域当中的国内互联网平台也越来越多,近期风头正盛的禹皇益购便是其中之 ...

据2022年全球葡萄酒行业最新数据报告显示,2022年,全球葡萄酒产量达到258亿升,已连续四年稳定在260亿升左右。近些年来,布局到相关领域当中的国内互联网平台也越来越多,近期风头正盛的禹皇益购便是其中之一,不烧伤无封顶、见层见点有钱、80%以上的正拨比的宣传话术也吸引到了无数网民的关注。

那么禹皇益购有着怎样的平台背景?李海利、王龙辉与宁夏华夏聚腾投资有限公司、宁夏青铜峡市禹皇酒庄有限公司等非法吸收公众存款罪二审刑事裁定书披露出了怎样的内容?禹皇益购总裁、心海国际系统创始人解宏在过往这些年间经历了什么?该平台现行的奖金制度该如何解读?

成交百万,目标十亿

禹皇益购的经营主体为宁夏禹皇实业有限公司,成立于2015年7月30日,法定代表人李艺升,股东为李艺升(大股东)、董雪琴,监事为李艺静,注册资本100万元,据2021年度报告显示,该公司股东在当时的实缴出资额为0元,参保员工也为0人。

据官方资料显示,禹皇益购是一家综合性的消费增值平台,应用了互联网3.0时代B2B+B2C商业模式,以百业赋能、消费增值为核心理念,并以消费即贡献、行为即价值,流量即资本,流通即利润为发展理念。在管理层方面,禹皇实业董事长为李文中(又称李文忠),禹皇益购总裁为解宏,战略顾问为吴鹏军。

2023年4月8日,以醉美东麓链接世界,筑梦禹皇腾飞益购为主题的禹皇益购产融结合商业论坛盛世起航大会在宁夏举行。据悉,现场成交额达到500多万元,签订年度销售协议3.6亿元(协议订金20多万元),年度销售总目标为10亿元。

禹皇益购之所以会有今天的发展,离不开禹皇酒庄在其背后的支撑,禹皇酒庄的经营主体为宁夏青铜峡市禹皇酒庄有限公司,经查,该公司成立于2009年9月24日,法定代表人李文德,股东有李文中(大股东)、李文德,监事为李艺静,注册资本4286万元,据2021年度报告显示,该公司股东们在当时的实缴出资情况与员工参保情况如下:

失信记录,问题重重

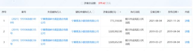
在近年来,宁夏青铜峡市禹皇酒庄有限公司可以说是劣迹斑斑。

(图片来源:企查查

甚至还曾沦为失信被执行人。

(图片来源:企查查

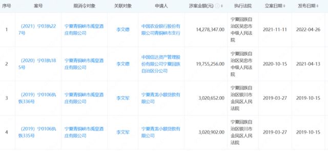
李文中本人也未能免俗,收到过限制消费令。

而在多年前,禹皇酒庄还曾牵涉到一宗有关非法吸收公众存款的案子当中,据李海利、王龙辉与宁夏华夏聚腾投资有限公司、宁夏青铜峡市禹皇酒庄有限公司等非法吸收公众存款罪二审刑事裁定书显示,宁夏回族自治区青铜峡市人民法院审理宁夏回族自治区青铜峡市人民检察院指控原审被告单位宁夏华夏聚腾投资有限公司、宁夏青铜峡市禹皇酒庄有限公司,原审被告人李海利、王龙辉、李文军(人称禹皇酒庄庄主、曾任禹皇酒庄董事长)犯非法吸收公众存款罪一案,于2018年12月27日作出(2018)宁0381刑初90号刑事判决。

其中,被告单位宁夏青铜峡市禹皇酒庄有限公司犯非法吸收公众存款罪,被判处罚金人民币八万元;被告人李文军犯非法吸收公众存款罪,被判处有期徒刑二年七个月,缓刑三年,并处罚金人民币五万元;责令被告单位宁夏华夏聚腾投资有限公司、宁夏青铜峡市禹皇酒庄有限公司退赔集资参与人集资款,宁夏青铜峡市禹皇酒庄有限公司交纳现金94万元发还集资参与人。

心海系统,解宏其人

上文提到现任禹皇益购总裁的人名为解宏,调查发现,他的另外一个身份是大名鼎鼎的心海国际系统创始人,此人生于1971年,开封人,长达12年的军旅生涯结束后,他于2000年5月转业回到地方,并开启了创业之路,加入天狮多年来收获颇丰,甚至还收到了天狮集团总裁李金元颁发的忠诚奖,成功英雄名车奖、豪华游艇奖同样早已收入囊中。在过往22年间,解宏自称历经9个平台,从事直销行业的时间达到了18年,另外微商2年、币圈2年,曾从白手起家到身价千万,从身价千万到负债300万,后来又从负债走向清账。

据心海国际系统的官方公众号介绍,在过往这些年间,心海国际系统合作过的公司众多,包括天津天狮集团、广东上善科技、广东宝莱雍、河南瑞之福、北京好玩吧科技、湖南交泰科技、四川亿网嘉园科技等。

与好玩吧的这场合作已是多年之前,心海国际系统曾为此搭台唱戏。

早在2020年,拥有心海国际系统圆梦团队领导人、好玩吧三星达人双重身份的彭庆艳就曾带领团队开辟了湖北市场。但好景不长,好玩吧很快便因涉嫌传销遭到警方通报。关于如今已是声名狼藉的好玩吧,本平台此前就曾以自称第二个阿里巴巴?孙运动和他的好玩吧是否将步趣步后尘?为题发表过相关报道进行了曝光,此处不再赘述。

2021年,心海国际系统结缘湖南交泰科技,加入唐古拉优选拼团。同样没过多久,湖南日报便报道称:长沙市芙蓉区市场监督管理局表示,有关部门已对湖南交泰科技有限公司涉嫌网络传销立案调查。

之后,心海国际系统又与爱优品(重庆)电子商务有限公司达成合作,解宏任职爱优品市场部总裁。当时间来到2023年,心海国际系统便开始为禹皇益购执鞭坠蹬。

九大职级,五重收益

接下来,我们再来关注一下禹皇益购推行的奖金制度该如何解读。据推广人员阿强(化名)提供的资料显示,该平台共设置了四种消费套餐,门槛分别是1200元、6000元、12000元、24000元,对应的贡献值(分红权)分别是1个、5个、10个、20个,额度值分别是3600、24000、60000、150000。

一、权益补贴(全国每日新增营业额20%)

公式为个人贡献值除以全国贡献值之后,再乘以每日新增营业额20%,权益补贴这项分红将一直分到额度值为止。

二、分享补贴:10%

小推大、不烧伤、可重复拿N次。

三、见点补贴:10%

20代的0.3%;20层的0.2%。代:有推荐关系的为代;层:无推荐关系的为层。

四、管理补贴:20%

1.一星

小区业绩考核达到3万升级一星,分红比例8%

2.二星

小区业绩考核达到15万升级二星,分红比例3%

3.三星

小区业绩考核达到50万升级三星,分红比例2%

4.四星

小区业绩考核达到150万升级四星,分红比例2%

5.五星

小区业绩考核达到500万升级五星,分红比例2%

6.市场总监

小区业绩考核达到1000万升级市场总监,分红比例1%

7.荣誉董事

小区业绩考核达到2000万升级荣誉董事,分红比例1%

8.行政董事

小区业绩考核达到4000万升级行政董事,分红比例0.5%

9.创办家族

小区业绩考核达到8000万升级创办家族,分红比例0.5%

五、伯乐奖:20%、紧缩拿七代

一星:一代30%、二代20%、三代10%(伯乐奖中的百分比指的是第四项奖金的百分比)

二星:一代30%、二代20%、三到七代10%

后记

调查还发现,截至目前,摆在禹皇益购商城中的产品基本上都是葡萄酒,不过推广人员提供的课件资料却存在暗示这些葡萄酒具有医疗功效的内容。

如果有消费者是出于抑癌抗瘤的目的而选择购买禹皇益购的葡萄酒,那么无疑是打错了算盘,对于上述涉及到医疗作用的广告内容,我国广告法第十七条规定已明确指出:除医疗、药品、医疗器械广告外,禁止其他任何广告涉及疾病治疗功能,并不得使用医疗用语或者易使推销的商品与药品、医疗器械相混淆的用语。至于禹皇益购在今后会如何发展?心海国际系统还将走向何方?对此,微商电商调研将继续保持关注。

温馨提示:
1、在网站里发表的新闻都来自网络,与本网站立场无关。
2、网站的所有内容不保证其准确性,有效性,时间性。阅读本站内容因误导等因素而造成的损失本站不承担连带责任。
3、当政府机关依照法定程序要求披露信息时,网站均得免责。
4、若因线路及非本站所能控制范围的故障导致暂停服务期间造成的一切不便与损失,网站不负任何责任。
5、通过任何手段和方法针对网站进行破坏,我们有权对其行为作出处理。并保留进一步追究其责任的权利。

广告合作/投稿邮箱zgbfxw@163.com|网站地图|手机版|中国八方新闻

GMT+8, 2026-1-13 16:03 , Processed in 0.045449 second(s), 19 queries .

Powered by Discuz! X3.4

© 2001-2023 Discuz! Team.

返回顶部